
倘若您有什么疑問或是對我公司有任何
的意見和建議都可通過:
的意見和建議都可通過:
公司名稱: 鞏義市西村鎮華豐給排水材料廠
公司地址: 河南省鞏義市西村開發區
電話: 0371-64033589
手機: 18638168566,13683712868
13783416000(技術)
聯系人: 王先生,位女士
郵政編碼: 451200
E-MAIL: 1696257948@qq.com
網址:http://m.0574b2b.cn/
網址:http://m.0574b2b.cn/
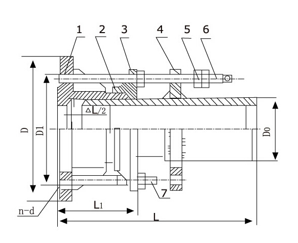
VSSJA-1(BF)型單法蘭限位伸縮接頭
標簽:該產品可按照客戶要求訂做,如需訂做請向客服提供您的參數表 華豐竭誠為您服務,熱線電話0371-64033589 | ||
VSSJA-1(BF)型單法蘭限位伸縮接頭是在松套伸縮接頭原有性能的基礎上增設限位裝置,在*大伸縮量處用雙螺母鎖定。管道在允許的伸縮量中可以自由伸縮,一旦超過其大伸縮量就起到限位,確保管道的安全運行,單法蘭限位伸縮接頭特別適用于振動或有一定斜度及拐彎的管路中的連接。
VSSJA-1(BF)型單法蘭松套限位伸縮接頭安裝簡要說明:
VSSJA-1(BF)型單法蘭松套限位伸縮接頭適用于一邊與法蘭連接,一邊與管道焊接,單法蘭松套限位伸縮接頭在安裝時調整產品兩端與管道或法蘭的安裝長度,對角依次均勻擰緊壓蓋螺栓,再調整好限位螺母,這樣就能讓管道在伸縮量范圍內可以自由伸縮,鎖定伸縮量,確保管道的安全運行。材料表
| 公稱通徑DN | 管子外徑DW | 法蘭連接尺寸 | 密封面d | 總長L | *大伸縮量δ | ||||
| 法蘭外徑D | 螺栓中心圓直徑K | 螺栓孔直徑do | 螺栓 | ||||||
| n/個 | Th | ||||||||
| 65 | 76 | 160 | 130 | 14 | 4 | M12 | 108 | 340 | 25 |
| 80 | 89 | 190 | 170 | 18 | M16 | 124 | |||
| 100 | 108 | 210 | 170 | 144 | |||||
| 114 | 8 | ||||||||
| 125 | 133 | 240 | 200 | 174 | |||||
| 140 | |||||||||
| 150 | 159 | 265 | 225 | 199 | |||||
| 168 | |||||||||
| 200 | 219 | 320 | 280 | 254 | |||||
| 250 | 273 | 375 | 335 | 12 | 309 | ||||
| 300 | 325 | 440 | 395 | 22 | M20 | 363 | 350 | 32.5 | |
| 350 | 377 | 490 | 445 | 413 | |||||
| 400 | 426 | 540 | 495 | 16 | 463 | ||||
| 450 | 480 | 595 | 550 | 518 | |||||
| 500 | 530 | 645 | 600 | 20 | 568 | ||||
| 600 | 630 | 755 | 705 | 26 | M24 | 667 | |||
| 700 | 720 | 860 | 810 | 24 | 772 | ||||
| 800 | 820 | 975 | 920 | 30 | M27 | 878 | 590 | 65 | |
| 900 | 920 | 1075 | 1020 | 978 | |||||
| 1000 | 1020 | 1175 | 1120 | 28 | 1078 | ||||
| 1200 | 1220 | 1405 | 1340 | 33 | 32 | M30 | 1295 | ||
| 1400 | 1420 | 1630 | 1560 | 36 | 36 | M33 | 1510 | ||
| 1600 | 1620 | 1830 | 17, 60, | 40 | 1710 | ||||
| 1800 | 1820 | 2045 | 1970 | 39 | 44 | M36 | 1918 | ||
| 2000 | 2020 | 2265 | 2180 | 42 | 48 | M39 | 2125 | ||
| 2200 | 2220 | 2475 | 2390 | 52 | 2335 | ||||
| 2400 | 2420 | 2685 | 2600 | 56 | 2545 | ||||
更多產品詳情可來電咨詢
聯系人:王先生 13783416000 魏女士 13683712868
下一篇:四氟波紋補償器
版權所有:華豐管道 地址:河南省鞏義市西村開發區 服務熱線:0371-64033589 管理入口E-MAIL: 1696257948@qq.com 手機: 18638168566,13783416000
網站備案/許可證號: 豫ICP備11026537號-5
豫公網安備 41910102000259號 技術支持:鞏義開啟網絡
本網站支持新廣告法,為不影響客戶瀏覽,頁面區域用詞正在排查修改,本店所有頁面絕對化用詞和功能性用詞在此聲明前全部失效,不接受不妥協任何形式的絕對化用詞和功能性用詞賠付,希望各位消費者理解,職業打假人高抬貴手。 網站備案/許可證號: 豫ICP備11026537號-5
豫公網安備 41910102000259號 技術支持:鞏義開啟網絡


